Hangzhou Cagon Transmission Technology Co., Ltd.
Hangzhou Cagon Transmission Technology Co., Ltd.
Produkter
Produkter
Dredger gearkasse
  • Dredger gearkasseDredger gearkasse
  • Dredger gearkasseDredger gearkasse
  • Dredger gearkasseDredger gearkasse
  • Dredger gearkasseDredger gearkasse
  • Dredger gearkasseDredger gearkasse

Dredger gearkasse

Denne serie Dredger Gearbox Special til gyllepumpe er et nyt produkt, der er udviklet til alle slags dredgers, og dermed opfylder mudringskrav fra floder eller søer i landet. Det besidder funktioner ved at kløbe og deklutch, hastighedsreduktion og lejetrækkraft fra pumpehjulet. I mellemtiden er gearkassen også velegnet til gylle transport på land.

Funktioner

1. Dette produkt er en Dredger Gearbox Special for Slurry Pump, der er designet og fremstillet af middelværdien, der kombinerer teknologi introduceret fra Tyskland og nuværende avanceret teknologi i vores virksomhed. Derfor er serien Gearbox perfekt til ydeevne, pålidelig i drift og praktisk i vedligeholdelse.

2. Vores gearkasse er designet med en integreret bolig, som også kan bruges som ramme. Så det har i perfekt stivhed og kompakt struktur. Sammenlignet med et gyllepumpesystem, der anvender pneumatisk rørkobling, har dette system fordelene ved kortere aksial længde og mere økonomisk.

3. Tryklejer med stor kapacitet bruges til at bære større trækkraft fra opslæmningspumpehjulet.

4. det anvender det hydrauliske system af rørstypen, som er praktisk i vedligeholdelse. Og det højtryksolie-linje bruger slangen til at reducere støj i gearkassens drift meget.


Forudsat at Dredger -gearkassen skal betjenes og vedligeholdes korrekt i henhold til manualen, fungerer den pålideligt på en temmelig lang sigt. Hvis nogle særlige krav, bedes du kontakte designeren direkte.


Kapitel ⅰ Tekniske data

1. Matchende skibstype: Dredgers af alle slags (også til gylle transport på landet)
2. Transmissionstilstand: Helical cylindrisk gear, to aksler og to gear
3. Koblingstype: Hydraulisk, våd, multi-plate friktionskobling
4. Centerafstand: 360 mm
5. Forhold: 2.2 ~ 4 (kan bestemmes på faktisk anmodning)
6. Indgangseffekt: 1060 kW (strøm og hastighed kan bestemmes afhængigt af faktiske situationer)
7. Inputhastighed: 1300 ~ 1800 o / min
8. Bedømt trans. drejningsmoment 0,7 kW/o/min
9. Bedømt tryk fra pumpehjulet: 15t
10. Rotationsretning: Input ende (mod indgangsaksel): med uret
Outputenden (mod udgangsaksel): med uret
11. Mekanisk effektivitet: ≥98%
12. Forlovelsestid: 2s - 6s
13.1 Arbejdsolietryk: 1,5 - 1,63 MPa
13.2 Lub. Olietryk
med normal hastighed:
Ved tomgangshastighed:
0,2 - 0,4 MPa
≥0,05 MPa
14. Oilmærke: HC-11, HQ-10 eller SAE30 (fri for EP-vanedannende)
15. Oliekapacitet: ~ L
16. Lub. Olietemperatur: 40 –60 ℃
17. Maks. Olietemperatur: ≤80 ℃
18. Forbrug af kølevand: ≥5 t/h
19. Kølevandstemperatur: ≤32 ℃
20. Engagement hastighed ≤60% af den nominelle motorhastighed


Kapitel ⅱ Struktur Introduktion

1. generelt

Dette Dredger Gearbox-system er en enkelt-trins reduktionsboks til gyllepumpe med input- og outputaksler lodret arrangeret. Da mekanismen er speciel designet til at drive opslæmningspumpe, er opslæmningspumpehuset forbundet til gearkassehus med bolte og opslæmningspumpe rotor direkte monteret på output -drivakslen. Gearkassen er velegnet til ikke kun alle slags dredgers, men også gylle transport over land og direkte drivende vandpumpe.

2. struktur af hver samling

(2. 1) Indgangsakselmontering:

Koblingshuset er krympning, der passer på indgangsakslen; Koblingsbæreren er splintet tilsluttet skaftets gear, der understøttes af to koniske rullelejer.

Der er to olieforsyningshuller i bagenden af ​​indgangsakslen, den ene til hydraulisk olie og den anden til smørelsesolie. Inde i rillen i bagenden af ​​skaftet er en tætningsring (med original aksial tykkelse på 3. 4mm) designet til olietæthed. Hvis det er slidt ud til en tykkelse mindre end 2. 8mm, skal den fornyes.

(2. 2) Udgangsakselenhed:

Outputudstyret og udgangsakslen er krympning. Et trykleje er designet til at bære tryk. I slutningen af ​​output bruges en O-ring og asbestpakning til at forsegle.

(2. 3) Boligforsamling:

Gearkassehuset består af øvre og nedre dele. Den nederste del kastes separat og har en perfekt stivhed med en masse ribben distribueret på den.

(2. 4.) Rørmontering:

Olie går fra sugeåbning til oliepumpe, filter, to-trins ventil, køligere og derefter til hvert smørepunkt eller kobling.

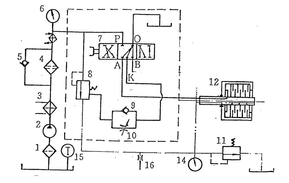
Når motoren startede, begynder oliepumpe 2 at fungere. Olie fra sump gennem præfilter 1 komprimeres og transmitteres til køligere 3 og sekundært filter 4. efter afkølet og filtreret, fører den ene del af olien til cylinder af foran kobling 12 via reverseringsventil 7 og den anden del overløb ved arbejdstrykket 8. De fleste af de overløbsolie løber langs smøringens oliepassage til smedning hver leje og tag varme produceret ved koblinger 12 og 13 og 13 og 13 og 13 og 13 og 13 og 13 og 13 og 13 og 13 og 13 og 13 og 13 og 13 og 13 og 13 og 13 og 13 og 13 og 13 og 13 og 13. og 13 og 13 og 13 og 13 og 13 og 13 og 13. og 13 og 13 og 13 og 13 og 13 og 13 og 13. og 13. overløb drivkraftets leveringsskærmsskærmsskærmsskærmsskærmsskærm Dysen rør 16. Den overflødige smøreolie vender tilbage til oliesumpen gennem lub. Trykventil 11. Hvis det sekundære filter 4 er hindret, kan olie muligvis køre fra bypassventil 5.

Dredger Gearbox

Hydraulisk systemdiagram

1. Forfilter 2. Oliepumpe 3. Køler 4. Sekundært filter
5. By-passventil 6. Arbejdstrykmåler 7. Reversalventil
8. Arbejdstrykventil 9. Kontroller ventil 10. Gassventil
11. Lub. Trykventil 12. Forud kobling 13. LUB. trykmåler
14. Olietermometer 15. Dyserør

Når reverseringsventil 7 er i stopposition, kan hydraulisk olie ikke kommunikeres til keder A, B og K. Olie i cylinderen på kobling 12 og ved arbejdstrykventilforsinkelses-kontrol-ende vender tilbage fra boringer A, B og K til olie-sump gennem omvendelsen

ventil. I øjeblikket kommer foråret i arbejdstrykventilen 'hjem', og systemtrykket er relativt lavt som det første olietryk (0. 3-0. 6MPa).

Når ventilen er i forlovelsesposition, kommer presset olie i cylinderen på den foran kobling 12 gennem boringen A for at gøre fremadrettet kobling engageret. I mellemtiden passerer olien gennem Bore K og kontrollerer gashåndteringsventil 9 og går ind i kontrolens ende af arbejdstrykventilen for at komprimere fjederen, hvilket gør arbejdolie forsinket stigning til den specificerede værdi (1. 9-2. 2MPa).

Åbningstørrelsen af ​​gashåndtagsventil 10 kan justeres. Når den leveres, indstilles den engagerende tid som 2-4s. Og skru normalt ikke af dig selv.

Arbejdstryk kan læses på trykmåleren.


Kapitel ⅲ Vedligeholdelse og erstatning

1. forudsat at korrekt installation og drift udføres i henhold til servicemanualen, kan gearkassen køre pålideligt i en temmelig lang periode med revisionen over 10.000 timer.

2. gearkassen leveres med anti-rustolie, der er effektiv i 12 måneder fra leveringsdatoen. Hvis det opbevares i en lang periode eller stoppes med at køre, skal den inspiceres og opretholdes rettidig.

3. Efter gearkassen, der kører i de første 50 timer, skal du rense filterpatronen og forbehandleren og skifte ren olie. Herefter skal du opretholde i henhold til de regler, der er angivet i "Vedligeholdelseselementer".

4. For at holde gearkassen i gang under korrekte forhold, kan der arrangeres regelmæssig inspektion og vedligeholdelse som følger:

(1) Daglig vedligeholdelse Acc. til klasse 1 -varer
(2) Hver 1000 timer vedligeholdelse ifølge til klasse 2 varer
(3) Hver 5000 timer vedligeholdelse ifølge til klasse 3 -varer
(4) Hver 10000 timer vedligeholdelse ifølge til klasse 4 -varer


Tillæg ⅰ Vedligeholdelseselementer

Ingen. Beskrivelse 1 2 3 4
1 Kontroller olieniveau inde i gearkassen Ö
2 Rengør uden for gearkassen Ö
3 Kontroller enhver unormal støj Ö
4 Kontroller enhver lækage af olie eller vand Ö
5 Rent filter Ö
6 Ren driftsventil Ö
7 Kontroller olieforseglinger ved olie-ind punkt Ö
8 Kontroller monteringsnøjagtigheden af ​​inputkobling og højfleksibel kobling og motorens svinghjul Ö
9 Kontroller monteringsnøjagtigheden af ​​outputkobling og forbindelsesskruer Ö
10 Fjern øverste dækplade, drej og kontroller gear og koblinger Ö
11 Kontroller og forny olie Ö
12 Kontroller oliepumpe Ö
13 Kontroller og rens køligere Ö
14 Kontroller (eller udskift) input og output kabinet sæler Ö
15 Kontroller friktionsskiver og forseglingsringe Ö
16 Demonter huset, kontroller (eller udskift) hver lejer Ö
17 Rengør hver del af gearkassen og oliepassagen Ö


Tillæg ⅱ Problemer

Ingen. Problemer Årsager Retsmidler
1 Vibration af gearkasse 1. Lav installationsnøjagtighed
2. Loose input og udgangskoblingsskruer eller bolte af klokkehus og tilhænger
3.Torsionsvibration
1. Juster Acc. til manualen
2. stram 3.Avoid resonanshastighed
2 Nej, for lavt eller ustabilt olietryk 1. UNDERAGET OLIEPUMP
2. Lav olietiveau
3. Luftsug i indløbsrøret
4. Beskadiget olietrykmåler
5.glas roterende retning Ikke tilsvarende
1.repair eller forny
2. Tilføj olie
3. Spænd bolte
4. Udskift
5. Kontroller og løser Acc. til Manual of Oil Pump
3 For lavt hydraulisk tryk 1. Choked Delay Throttling Hole
2.obstruceret stempel
3. Utilstrækkelig fjederstyrke
1.Clean
2.Clean og reparation 3. Regeplas Forår eller tilsæt skiver
4 Ustabil lub. Olietryk Forhindret lub. Olieventilkerne Ren og reparation
5 Kobling glider 1.Ro lavt eller ustabilt olietryk
2. Undvigede friktionsskiver
3. Kokeret olievej eller slidt tætningsring
1.Refer til nr. 2 og 3
2.Renew
3. Kontroller olie måde eller udskift tætningsring
6 Overdreven olietemp. 1.Klutch glider
2. Kokeret i køligere eller utilstrækkeligt kølevand
3.To højt olie niveau
4. Udnævnte løbende dele som lejer, trykringe osv.
5. Olie alderen
1.Refer til nr. 5
2. Rig køler, øg kølevandstrømmen
3.Fyld olie Acc. at måle
4. REPLAIT DAMED DEL 5.REnew Oil
7 Lækage af vand eller olie 1. beskadigede sæler
2. Blandet forseglings ansigt eller urenhed blandet
3. løsne skruer på faying ansigt
1. Udskift segl
2.Repar forsegling ansigt og frakke forsegling tyggegummi
3. Spænd skruer


Ⅰ.Input Shaft Assembly (JL360-1A-01-000)

Ingen. Beskrivelse Tegning nr. Antal Bemærkninger
1 Inputflange JL360-017 1 17
2 Skrue JB/ZQ4444-86 1 18
3 Snap ring GB/T894.1-86 1
4 Leje 224 1 29
5 Møtrik JL360-021 1 21
6 Baffelplade JL360-030 1 30
7 Cylinder JL360-020 1 20
8 Stempel JL360-035 1 35
9 X-ring 4451 1 36
10 Snap ring S52029-451 1 32
11 X-ring 4432 1 34
12 Snap ring S52029-458 1 33
13 Indgangsaksel JL360-022 1 22
14 Nøgle GB/T1567-79 1 23
15 Hex møtrik DIN6915A HV10 32 43
16 Bolt JL360-042 16 42
17 Koblingshus JL360-044 1 44
18 Eks. Friktionsdisk 3/0530/0034/1 9 37
19 I. Friktionsdisk 3/0539/0046/2 9 40
20 Trykplade JL360-041 1 41
21 Forår 410-021-215 9 24
22 Koblingsbærer JL360-038 1 38
23 Leje 42520e 1 11
24 Koblingsflange JL360-082 1 82
25 Olie-i afstandsbusk JL360-008 1 8
26 Leje 32226 1 7
27 Indgangsakseludstyr JL360-006 1 6
28 Leje 32228 1 5
29 O-ring GB/T3452.1-82 2 19
30 Olie-in trans aksel JL360-009 1 9
31 Leje 111 1 4
32 Forseglingsring 300-01-016 2 3


Ⅱ.Output Shaft Assembly (JL360-1A-02-000)

Ingen. Beskrivelse Tegning nr. Antal Bemærkninger
1 Snap ring GB/T894.1-86 1
2 Drejning af hjul JL360-045 1
3 Kirtel JL360-052 1
4 Forår NB170-017 8
5 Leje 903942e 1
6 Afstand JL360-056 1
7 Leje 3053730 1
8 Spacer Bush JL360-058 1
9 Rund møtrik JL360-1-077 1
10 Trykplade JL360-060 1
11 Leje 39434e 1
12 Trykplade JL360-062 1
13 Gear JL360-064 1
14 Nøgle GB / T1096-79 1
15 Udgangsaksel JL360-047 1
16 Leje 3003740 1


Ⅲ.Housing Assembly (JL360-1A-03-000)

Ingen. Beskrivelse Tegning nr. Antal Bemærkninger
1 Øvre boliger JL360-054 1 54
2 Bolt GB/T5782-86 2 83
3 Bolt GB/T5782-86 6 78
4 Stift GB / T118-86 2 73
5 Bolt GB/T5783-86 12 70
6 Breather sæt 120C-04-000 1 63
7 Bolt GB/T5783-86 16 74
8 Coverplade JL360-075 2 75
9 Pakning JL360-076 2 76
10 O-ring GB/T3452.1-82 1 80
11 Stift GB/T119-86 2 31
12 Bolt GB/T5783-86 4 67
13 Splitforseglingsdæksel JL360-066 1 66
14 Pakning 15,9 × 15,9 1 81
15 Møtrik GB/T6170-86 4 68
16 Bolt GB/T5783-86 16 50
17 Oliebaffelmuffe JL360-002 1 2
18 Distributørblok JL360-001 1 1
19 Bolt JB/T1000-77 2 13
20 Kobbervaskemaskine Q20-03 2 14
21 Lavere boliger JL360-012 1 12
22 Møtrik GB/T6170-86 6 77
23 Olieforsegling GB/T9877.1-88 2 46
24 Stor slutdækning JL360-015 1 15
25 Bolt GB/T5782-86 10 69
26 Pakning 9,5 × 9,5 1 27
27 Input Split Sealing Cover JL360-026 1 26
28 O-ring GB/T3452.1-82 1 25
29 Stift GB/T120-86 2 19
30 Bolt GB/T5782-86 6 16


Data til torsions vibrationsberegning for gylle-pump gearkasse JL360-1A

Dredger Gearbox


Ⅰ. Inerti -øjeblik

I1. Inputflange og en del af indgangsakslen.

I2. Cylinder, stempel, koblingsbærer, indre friktionsskiver, olie-in-skaft og en del af indgangsakslen.

I3. Koblingshus, koblingsflange, eksterne friktionsskiver og en del af indgangsskaftets gear.

I4. En del af indgangsakseludstyret.

I5. Outputudstyr og en del af udgangsakslen.

I6. En del af udgangsakslen.

Ⅱ. Torsionsstivhed

C1. Indgangsaksel

C2. Indgangsakseludstyr

C3. Udgangsaksel


Datablad til torsionsvibrationsberegning af gearkasse JL360-1A

Ⅰ. Inerti -øjeblik

Kode Forhold Inerti -øjeblik
i I (kg · ㎡)
I1 2. 56 0. 9137
I2 2. 56 1. 1786
I3 2. 56 3. 9177
I4 2. 56 0. 2862
I5 2. 56 9. 734
I6 2. 56 0. 729


Ⅱ. Torsionsfjederstivhed og skaftdiametre

Kode Forhold Torsionsfjederstivhed Skaftdiametre
i C (10 n · m/rad) d (mm)
C1 2. 56 5. 18 110
C2 2. 56 12. 66 130/45
C3 2. 56 9. 79 150


Note:*1 absolut værdi, ikke konvertere værdi

*2 hul skaft


Hot Tags: Dredger gearkasse
Send forespørgsel
Kontaktoplysninger
Få tilpassede pristilbud for marine transmissioner inden for 24 timer. Kina fabrik med multi-klassificeringscertificeringer. Indsend dine projektkrav nu!
X
We use cookies to offer you a better browsing experience, analyze site traffic and personalize content. By using this site, you agree to our use of cookies. Privacy Policy
Reject Accept